Beam co-ordinate system
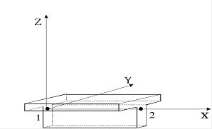
The beam co-ordinate system is a three-dimensional right-handed Cartesian co-ordinate system with axes marked x, y, and z.
Each 1D member is defined by means of two end points – by a "starting point" and by an "end point". Each 1D member has got a unique local co-ordinate system, the origin of which is located in the starting point of a 1D member. The x-axis is always identical with the longitudinal beam axis and its direction is from the staring point towards the end point. By default, the y-axis is generally horizontal (unless the beam orientation prevents this) and the z-axis is generally vertical (again, unless the beam orientation in space prevents this configuration).
For example, a horizontal beam has both x and y axis horizontal and the z axis is vertical pointing upward. Similarly, a vertical column has the x axis vertical and both y and z axes are horizontal.
The local co-ordinate system can be rotated around its x-axis if required.
In addition to this local co-ordinate system, also a principal (or main) co-ordinate system can be referred to on a 1D member. The principal co-ordinate system of a 1D member is related to the principal co-ordinate system of the cross-section of a 1D member.
Right-handed coordinate system
It may help you to determine the direction of individual beam axis, if you remember what you (probably) learnt at school. Take your right hand, position your thumb, index finger and middle finger so that they are perpendicular to each other. Then the following applies (see also the image below):
- the thumb points in the direction of the x-axis,
- the index finger points in the direction of the y-axis,
- the middle finger points in the direction of the z-axis.