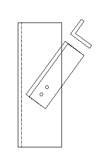
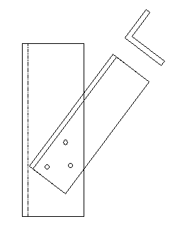
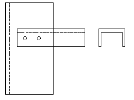
Diagonal element bolted on a column

Both ends of the selected diagonal elements are connected to the column element. The column element is an angle section. The following configurations are possible:

angle diagonal with single bolt row

image\DiagonalFig18.gif

angle diagonal with double staggered bolt row

image\DiagonalFig19.gif

channel diagonal bolted through flange with single bolt row

image\DiagonalFig20.gif

channel diagonal bolted through web with single

channel diagonal bolted through web with double (non) staggered bolt row

image\DiagonalFig21.gif

Note: For bolt configurations see chapter Diagonal element bolted on a gusset plate.

 

SCIA web

Downloads

SCIA is part of the Nemetschek group